Конфигурация магнитных полей элементов двигателя производит силу для поддержания движения компонентов системы. Эффективная конфигурация магнитного поля представляет особенное значение в устройстве магнитного двигателя.
В случае с SEG генератором Серла работает принцип квадратов - точно подсчитанные числа создают рабочую формулу. Эта формула создаёт вокруг движущихся частей силовые линии магнитного поля, которые заставляют ролики кататься не по внешней поверхности кольца, а парить над ней в нескольких миллиметрах. Это избавляет от трения и делает двигатель генератором свободной энергии.
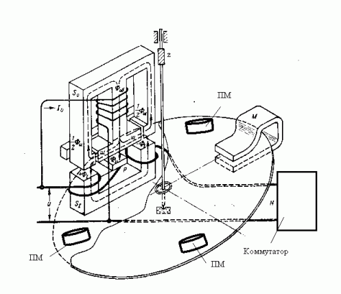
Генератор Серла, схемы. Searl Effect Generator Schemes






Джон Серл не только просчитал структуру магнитных полей, но и подобрал материалы для изготовления колец и роликов двигателя. К своему изобретению он шёл пол-жизни.
Генератор Серла, подробнее:
https://sites.google.com/site/searlmachine/home/prodolzenie-str-2
http://ufo.maxbb.ru/topic4.html
http://blogrider.ru/blogs/136235/posts/id/4995125/preobrazovateli_energ…
http://www.ufo.obninsk.ru/artikles/searl.htm
SEG Searl Effect Generator

Другие схемы имеют более простые принципы работы. Представленные схемы магнитных двигателей демонстрируют принцип: как использовать магнитные силовые линии, чтобы противодействовать трению. Также двигатели могут иметь электрические схемы для управления силами внутри схемы.
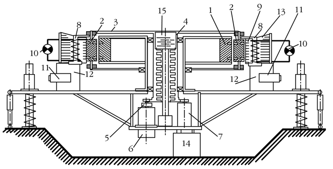
ALME, Wankel, АКМД. Схемы магнитных двигателей

Mini Romag




http://www.greenoptimistic.com/2008/02/06/how-to-build-a-free-magnetic-…
Magnetic Wankel


http://smatri2008.narod.ru/maketi.html

http://www.ntpo.com/invention/invention2/39_en.shtml
http://fr.shram.kiev.ua/top/invention/invention2/39.shtml
PERPETUAL MOTION MAGNETIC MACHINE (PM3)


Рис.2 Обратимый ЭМДГ с внешним МП- магнитным ротором (неполная конструкция)

Рис.6 Конструкция простейшего макета ЭМДГ на базе индуктивного электросчетчика
http://eco21x.wordpress.com/2010/03/27/article41/

http://ut27972.narod.ru/Book_1/03_Book_1_part_3.htm



http://perveev2006.narod.ru/Book_1/00_Book_1.htm

https://www.topos.ru/veer/56/14.htm



https://www.youtube.com/watch?v=VN1xeMlBDvU&list=PL80B714F226A248EB&ind…

https://www.youtube.com/watch?v=vUcWn1x3Tss&list=PL80B714F226A248EB&ind…

https://realstrannik.com/forum/svobodnaya-energiya/1458-magnitnye-dviga…